Categories Remont

Praktyczny przewodnik: Jak zamontować baterie do wanny w kilku krokach

Zamierzasz samodzielnie zamontować baterię w wannie? To świetny pomysł! Z jednej strony zaoszczędzisz kilka złotych, z drugiej natomiast zdobędziesz nowe umiejętności, które z pewnością zaimponują każdemu, kto odwiedzi Twoją łazienkę. Jednak zanim wygodnie usiądziesz w fotelu z piwem lub herbatą, warto przygotować odpowiednie narzędzia. Do pracy przydadzą Ci się: klucz nastawny (żaden prawdziwy majsterkowicz nie może się bez niego obejść), klucz płaski, mimośrody, pakuły lniane lub taśma teflonowa, poziomica (by uniknąć wiecznego przechyłu) oraz czysta, miękka szmatka. Brzmi prosto? Jeśli nie wyrzucisz szmatki w pierwszym odruchu, prace powinny przebiegać gładko!

Najważniejsze informacje:

  • Przygotuj wszystkie narzędzia: klucz nastawny, poziomicę, mimośrody, pakuły lub taśmę teflonową, uszczelki.
  • Zamknij dopływ wody przed rozpoczęciem prac.
  • Owiń mimośrody pakułami lub taśmą teflonową oraz nałóż pastę uszczelniającą.
  • Umieść mimośrody w otworach ściany i reguluj do odpowiedniej wysokości.
  • Dokręć mimośrody kluczem nastawnym, uważając na gwinty.
  • Wkręć uszczelki i przykręć baterię, dbając o nieuszkodzenie jej powierzchni.
  • Po odkręceniu dopływu wody, sprawdź szczelność połączeń.
  • Regularnie kontroluj stan baterii i wymieniaj uszczelki w razie potrzeby.

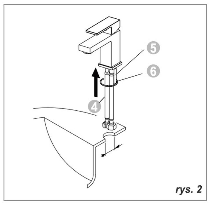
Na początek zaknij dopływ wody. Zdecydowanie nie chcesz skąpać się we własnej łazience, a wilgoć potrafi zrujnować marzenia o nowym, suchym dywaniku. Przygotuj mimośrody, owijając je pakułami lub taśmą teflonową, a następnie smarując pastą uszczelniającą. To drobny, ale niezwykle istotny krok, który zapewni szczelność i uchroni przed wyciekami – ani wody, ani wstydu!

Przygotowanie do montażu – najważniejsze kroki

Pamiętaj, aby umieścić mimośrody w otworach ściany, regulując je do idealnej wysokości – tak, aby bateria nie stała na nogach, gdy wygodnie siedisz w wannie. Dokręcaj je kluczem nastawnym, zachowując ostrożność, by nie zgiąć ani nie uszkodzić gwintów. Następnie wkręć uszczelki i przykręć baterię. Uważaj podczas tego kroku, by nie porysować pięknej chromowanej powierzchni. Po wszystkim nie zapomnij odkręcić dopływu wody i sprawdzić szczelność połączeń. Lepiej, by to był jedyny strumień, który występuje w Twojej łazience!

Narzędzia i materiały do montażu

Na zakończenie? Wykonaj test szczelności i zobacz, czy wszystko działa jak należy. Jeżeli woda płynie jak szalona, możesz cieszyć się z nowej umiejętności. Montaż baterii wannowej może być świetną zabawą, jeżeli przygotujesz odpowiedni zestaw narzędzi oraz zabezpieczysz miejsce pracy. Pamiętaj również – nic nie daje większej satysfakcji niż zrobienie czegoś samodzielnie. W końcu jesteś królem własnej łazienki!

Poniżej przedstawiam kilka istotnych kroków do wykonania podczas montażu baterii:

  • Zaknij dopływ wody.
  • Owiń mimośrody pakułami lub taśmą teflonową.
  • Smaruj pastą uszczelniającą.
  • Umieść mimośrody w otworach ściany i reguluj do odpowiedniej wysokości.
  • Dokręć mimośrody kluczem nastawnym.
  • Wkręć uszczelki i przykręć baterię.
  • Sprawdź szczelność połączeń po odkręceniu dopływu wody.
Wiedziałeś, że dobór odpowiedniej taśmy teflonowej jest kluczowy dla uniknięcia problemów z przeciekami? Cieńsza taśma jest odpowiednia do drobnych połączeń, podczas gdy grubsza sprawdzi się przy większych gwintach, co zapewnia lepsze uszczelnienie i dłuższą trwałość połączeń!

Krok po kroku: Instrukcja montażu baterii do wanny

Najczęstsze błędy instalacji baterii

Marzysz o relaksującej chwili w wannie? W takim razie warto zacząć od zamontowania odpowiedniej baterii. Choć wydaje się, że to zadanie nie jest zbyt skomplikowane, nie daj się zwieść pozorom! Aby uniknąć nieprzyjemnych niespodzianek, dobrze przygotuj się z narzędziami i instrukcją. Pamiętaj, aby mieć pod ręką klucz nastawny, poziomicę oraz inne przydatne akcesoria. Gotowy? Zatem przystępujmy do działania!

Zobacz także:  Praktyczny poradnik: Jak otworzyć farbę Beckers Vaggfarg bez problemów

W pierwszej kolejności zamknij dopływ wody, ponieważ nie warto zaczynać dużej operacji z otwartym wodociągowym kanałem. Następnie przygotuj mimośrody, czyli te specjalne metalowe elementy, które ułatwią przykręcenie baterii. Owiń je pakułami lub taśmą teflonową – działają one jak zabezpieczenie przed przeciekami, a Ty unikniesz rozczarowania podczas pierwszej kąpieli. Upewnij się, że wszystko jest ładnie wypoziomowane, ponieważ nikt nie pragnie dodatkowych fontann w łazience!

Jak dokładnie zamontować baterię wannową?

Teraz nadchodzi kluczowy krok – przymocowanie baterii do ściany lub rantu wanny, w zależności od wybranego modelu. Wkręć mimośrody kluczem, pamiętając, aby robić to z delikatnością, jakbyś miał do czynienia z dziełem sztuki. Zwróć szczególną uwagę na poziomowanie, a następnie dokręć baterię równomiernie, aby uniknąć krzywego efektu – tego nie chce nawet Picasso! Po zakończeniu montażu odkręć wodę i sprawdź, czy nie dostajesz prysznica z niespodziewanej strony. Upewnij się, że wszystko jest szczelne, ponieważ nie ma nic gorszego niż małe wodne wypadki w łazience!

Oto kilka kluczowych narzędzi i materiałów potrzebnych do montażu baterii:

  • Klucz nastawny
  • Poziomica
  • Mimośrody
  • Pakowanie lub taśma teflonowa
  • Szczelne uszczelki

Jeżeli wszystko działa jak należy, gratulacje! Udało Ci się zrealizować misję montażu własnej baterii. Pamiętaj jednak, że dbanie o baterię to nie tylko kwestia estetyki, ale też funkcjonalności. Regularnie sprawdzaj szczelność połączeń, a jeśli zajdzie taka potrzeba, wymień uszczelki. Teraz ciesz się swoimi relaksującymi chwilami w wannie, bo jeśli witryna nosi napis „sto lat nie myta”, Twoje efekty pracy możesz z całą pewnością zaliczyć do udanych!

Ciekawostka: Wybierając baterię do wanny, zwróć uwagę na jej materiał – baterie wykonane z mosiądzu są bardziej odporne na korozję i dłużej zachowują swoje właściwości, a co za tym idzie, będą Ci służyć przez wiele lat!

Najczęstsze błędy podczas instalacji baterii i jak ich unikać

Instalacja baterii wannowej wydaje się być prostym zadaniem, ale w rzeczywistości kryje wiele pułapek, w które łatwo wpaść. Najczęściej popełniany błąd polega na nieuwzględnieniu odpowiedniej wysokości montażu. Niewłaściwie umiejscowiona armatura, zarówno za nisko, jak i za wysoko, skutkuje tym, że korzystanie z wanny przypomina skakanie po przeszkodach. Dlatego warto pamiętać, że zgodnie z ogólną zasadą, bateria powinna znajdować się na wysokości od 10 do 18 cm nad krawędzią wanny. Zaskakujące, że niektórzy wydają się nie zauważać, jak ich nogi pragną wspinaczki przy każdej kąpieli!

Zobacz także:  Jaką farbą najlepiej pomalować płytki na podłodze, by uzyskać efektowny efekt?
Instrukcja krok po kroku

Następny istotny element, na który należy zwrócić szczególną uwagę, to odpowiednie przygotowanie narzędzi. Posiadasz je wszystkie w zasięgu ręki? Klucz nastawny, poziomica, uszczelki – to tylko kilka z niezbędnych akcesoriów. Jeżeli odejdziesz od tematu i coś zabraknie, możesz skończyć na wzywaniu sąsiada, na szczęście, nie trzymając plakatu „SOS” w dłoni. Pamiętaj, aby przed przystąpieniem do montażu sprawdzić, czy masz wszystkie potrzebne elementy, ponieważ, w końcu, nie chcesz marnować czasu na coś, co z góry kończy się bolesnym doświadczeniem związanym z gołymi pięściami.

Jak uniknąć typowych nieszczelności?

Gdy tylko przystąpisz do działania, nie zapomnę o uszczelnieniach. To kluczowy element, którego pominięcie może prowadzić do nieprzyjemnych niespodzianek w postaci przecieków. Staraj się regularnie sprawdzać, czy wszystkie połączenia są dobrze dokręcone, a wilgoć nie wkradła się do Twojego życia. Nie zapomnij również o konieczności przeprowadzenia testu szczelności po zakończeniu instalacji. Każdy krok to nowa szansa na uniknięcie katastrofy oraz przyjemne chwile w wannie, zamiast błądzenia z wiaderkiem po podłodze!

Na koniec, unikaj odkładania pracy na jutro. Chociaż montaż baterii wannowej może wydawać się zniechęcający, pamiętaj, że każdy medal ma dwie strony. Po skompletowaniu narzędzi i niezbędnych akcesoriów oraz zapoznaniu się z najczęściej występującymi błędami, zakasaj rękawy i przystąp do działania. Pamiętaj, im szybciej zakończysz montaż, tym szybciej będziesz mógł zadbać o swoje domowe SPA. Dlaczego marnować czas, skoro figlarnie wykręcona bateria czeka, by cieszyć się swoim życiem z wodą?

Oto kluczowe elementy, które należy przygotować przed instalacją:

  • Klucz nastawny
  • Poziomica
  • Uszczelki
  • Śrubokręt
  • Wiertarka
Czy wiesz, że nieprawidłowe ustawienie baterii wannowej na wysokości może nie tylko wpływać na komfort podczas korzystania z wanny, ale również na estetykę całej łazienki? Niezależnie od stylu wnętrza, niewłaściwie zamontowana armatura może zaburzać proporcje i wyglądać nieestetycznie, co jest istotne przy planowaniu ogólnej koncepcji wizualnej przestrzeni.

Porady ekspertów: Jak wybrać odpowiednią baterię do wanny

Wybór odpowiedniej baterii do wanny stanowi prawdziwe wyzwanie, które wielu z nas podejmuje, gdy planuje remont łazienki. Dobrze dobrana armatura znacząco ułatwia korzystanie z wanny, a jednocześnie nadaje łazience wyjątkowego stylu. Zanim jednak udasz się na zakupy, warto dokładnie przemyśleć własne potrzeby. Czy marzysz o eleganckiej baterii wolnostojącej, czy może wolisz coś bardziej tradycyjnego, montowanego na ścianie? Pamiętaj, że wybór baterii przypomina zakup pary butów – powinny być nie tylko ładne, ale także wygodne!

Zobacz także:  Jak skutecznie przygotować farbę do malowania pistoletem?

Dla fanów nowoczesnych rozwiązań baterie podtynkowe z pewnością przykują uwagę. Minimalistyczny wygląd tych modeli sprawi, że Twoja łazienka zyska styl i elegancję, jak z katalogu wnętrzarskiego. Warto zadać pytanie, kto powiedział, że technologia nie może łączyć funkcjonalności z estetyką? Decydując się na montaż podtynkowy, pamiętaj jednak o konieczności skrupulatnego zaplanowania instalacji – w tym przypadku improwizacja nie wchodzi w grę!

Rodzaje baterii wannowych – co wybrać, by nie żałować?

Kiedy mówimy o rodzajach baterii, w rzeczywistości mamy na myśli kilka opcji do rozważenia. Baterie natynkowe to klasyks, który sprawdza się w każdej łazience, a ich montaż nie przysparza większych problemów. Z kolei baterie sztorcowe idealnie komponują się w większych, przestronnych łazienkach. Niezależnie od dokonanego wyboru, zwróć uwagę na szczegóły, takie jak liczba otworów montażowych oraz kompatybilność baterii z Twoją wanną. Niektóre marki zalecają, aby szerokość rantu wanny wynosiła co najmniej dziewięć centymetrów. W przeciwnym razie, Twoja piękna bateria może szybko stać się źródłem problemów estetycznych!

Warto również rozważyć następujące aspekty przy wyborze baterii:

  • Styl – upewnij się, że bateria pasuje do ogólnego wystroju łazienki.
  • Funkcjonalność – sprawdź, jakie dodatkowe funkcje oferuje bateria.
  • Wydajność – zwróć uwagę na oszczędność wody i efektywność przepływu.
  • Łatwość w montażu – niektóre modele wymagają profesjonalnego wsparcia.
Montaż baterii do wanny

Na koniec warto podkreślić znaczenie właściwej wysokości montażu! Umieszczając baterie, należy zadbać o to, aby ich użytkowanie nie było uciążliwe – los tych, którzy zapominają o tej kwestii, bywa marny. Zamiast relaksującej kąpieli, zmagają się z akrobatycznymi sztuczkami. Dlatego przed sięgnięciem po słuchawkę prysznicową upewnij się, że możesz to zrobić bez ryzyka nadwyrężenia kręgosłupa. Pamiętaj także, że jakość instalacji to kluczowy element, który zapewni Ci komfort i spokój na długie lata!

Aspekt Opis
Styl Upewnij się, że bateria pasuje do ogólnego wystroju łazienki.
Funkcjonalność Sprawdź, jakie dodatkowe funkcje oferuje bateria.
Wydajność Zwroć uwage na oszczędność wody i efektywność przepływu.
Łatwość w montażu Niektóre modele wymagają profesjonalnego wsparcia.
Wysokość montażu Zadbaj o to, aby użytkowanie baterii nie było uciążliwe.

Od zawsze fascynuje mnie to, jak przestrzeń, w której żyjemy, wpływa na nasze samopoczucie. Na blogu WillaWolność.pl dzielę się doświadczeniem i pasją do tworzenia miejsc, które łączą piękno, funkcjonalność i nowoczesność. Piszę o domu, ogrodzie, aranżacji wnętrz, remontach, meblach, budownictwie i odnawialnych źródłach energii – wszystkim, co sprawia, że przestrzeń staje się prawdziwą ostoją wolności.

Dodaj komentarz

Twój adres e-mail nie zostanie opublikowany. Wymagane pola są oznaczone *